Warszawa Białołęka
ul. Ostródzka
działka rolno-budowlana na sprzedaż Bez pośrednika

Działka rolno-budowlana Warszawa Białołęka, ul. Ostródzka
Cena
549 000
Powierzchnia
706 m²
Cena za m²
778
Warszawa Białołęka · 549 000 zł

Ogłoszenie właściciela - bez pośredników

Działka rolno-budowlana Warszawa Białołęka, ul. Ostródzka. Zdjęcie 1
Działka rolno-budowlana Warszawa Białołęka, ul. Ostródzka. Zdjęcie 1

Bez pośrednika. Oszczędzasz 16 500 zł na prowizji pośrednika!

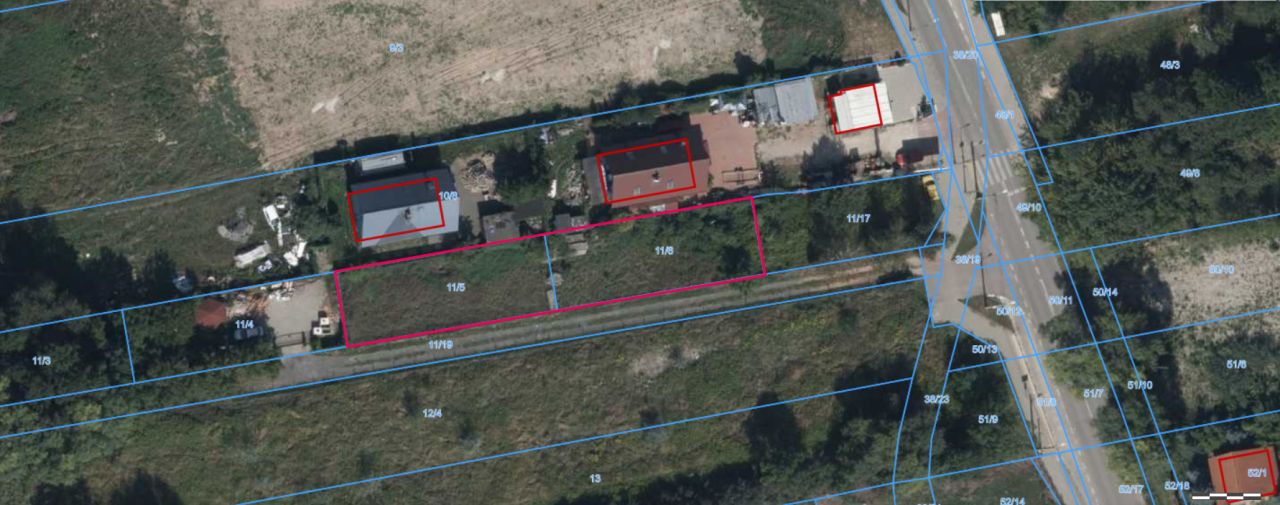
Sprzedam razem dwie działki przy ul. Ostródzkiej 253 w Warszawie Białołęka o nr ew. 11/5 i 11/6 z obrębu 4-16-12 o łącznej pow. 706 m2.

Dojazd od ul. Ostródzkiej na każdą z działek zapewnia prywatna droga sprzedającego o nr ew. 11/19 (dawna 11/18) o szerokości 4,5 m.

Sprzedający ustanowi w akcie notarialnym służebność przechodu i dojazdu oraz poprowadzenia mediów do sprzedawanych działek na drodze dojazdowej będącej jego własnością.

Roczna cena ww. służebności wynosi 400 zł rocznie od każdej działki, dla dwóch działek razem wynosi 800 zł rocznie, płatne do końca I-ego kwartału danego roku.

Wszystkie media znajdują się w ul. Ostródzkiej.

Działki są ogrodzone siatką rozpiętą na metalowych słupkach na podmurówce.

Działka o nr ew. 11/5 ma w ogrodzeniu metalową bramę wjazdową.

W m.p.z.p. teren na którym leżą te działki oznaczony jest symbolem M (tereny mieszkaniowe). Dla obszarów mieszkaniowych M jest ustalone w m.p.z.p. następujące obowiązujące przeznaczenie podstawowe: zabudowa mieszkaniowa jednorodzinna i wielorodzinna niska wraz z usługami I stopnia (usługi podstawowe, o ograniczonym zasięgu oddziaływania dotyczącym najbliższego terenu, lokalne) obsługi z zakresu: handlu, usług bytowych i publicznych.

Parametry działek:

dz. o nr ew. 11/5 – powierzchnia 353 m2
szerokość około 11,25 m
długość około 31,37 m

dz. o nr ew. 11/6 - powierzchnia 353 m2
szerokość około 11,40 m
długość około 31 m

SPRZEDAŻ BEZPOŚREDNIA

Powyższe ogłoszenie ma wyłącznie charakter informacyjny i nie stanowi oferty handlowej w rozumieniu przepisów Kodeksu Cywilnego, a w szczególności art. 66 § 1. Kodeksu Cywilnego, jest zaproszeniem do rokowań i dane w nim zawarte mogą ulec zmianie.

Sprzedający zastrzega sobie prawo wycofania propozycji sprzedaży bez podania przyczyn oraz prawo do podwyższenia ceny wraz z upływającym czasem.

  • ul. Ostródzka, Warszawa Białołęka
  • Na sprzedaż działka rolno-budowlana o powierzchni 706 m².
  • Zobacz plan w serwisie geoportal.gov.pl
  • Numer ewidencyjny działki: 11/6 + 11/5
  • Długość: 62 m, szerokość: 12 m
  • Dojazd: utwardzony, ogrodzenie: siatka
  • Cena do negocjacji
  • Oferta dodana bezpośrednio przez właściciela ponad miesiąc temu i zaktualizowana ponad tydzień temu
Wróć
Największa baza ogłoszeń bez pośredników
Zarejestruj się, aby przejść dalej
lub

Kontynuując akceptujesz
Regulamin i Politykę prywatności

Masz już konto na adresowo.pl?
Zaloguj się

Mamy dla Ciebie kredyt hipoteczny z niską ratą! Chcesz poznać szczegóły?

Kontakt z VeloBank:
- ofertę, wniosek i decyzję o przyznaniu kredytu w procesie online,
- wsparcie eksperta hipotecznego na każdym kroku,
- kredyt do 90% wartości nieruchomości.





Wyrażam zgodę na przetwarzanie moich danych osobowych zawartych w formularzu na stronie adresowo.pl przez VeloBank S.A. z siedzibą w Warszawie przy Rondo Ignacego Daszyńskiego 2C (Bank), a tym samym na ich przetwarzanie, w tym profilowanie, przez Bank w celu marketingu produktów i usług Banku za pośrednictwem rozmowy telefonicznej i sms. Zgoda może być w każdej chwili wycofana. Cofnięcie zgody nie ma wpływu na zgodność z prawem przetwarzania danych przed jej wycofaniem.