Działka na sprzedaż bez pośredników
ul. Brzozowa Zajączkowo

Działka budowlana Zajączkowo, ul. Brzozowa. Zdjęcie 1

Działka na sprzedaż bez pośredników Zajączkowo ul. Brzozowa

250 000
150 zł/m²
1 669
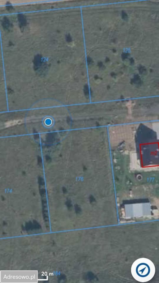
Zajączkowo, Brzozowa - lokalizacja przybliżona
Bezpośrednio od właściciela

Jeśli nie potrzebujesz pośrednika, zaoszczędzisz około 7 500 zł. Potrzebujesz wsparcia? Skorzystaj z pomocy agenta.

Witam serdecznie. Mam do sprzedania działkę budowlaną na pograniczu Zajączkowa i Łosina, gm. Kobylnica. Dokładny adres: Zajączkowo, ul. Brzozowa, działka nr 176.

Działka o powierzchni 1669 m2 w kształcie zbliżonym do prostokąta, płaska. 

Numer obowiązującego miejscowego planu zagospodarowania przestrzennego: 23, teren numer W. 8 MN/U.

Cena do negocjacji.

  • ul. Brzozowa, Zajączkowo, gmina Kobylnica, powiat słupski  
  • Na sprzedaż działka budowlana o powierzchni 1 669 m²  
  • Dojazd utwardzony
  • Ogrodzenie bez ogrodzenia
  • Media woda, prąd
  • Oferta bezpośrednio od właściciela dodana ponad miesiąc temu
Ta nieruchomość może być Twoja od.. sprawdź
50000 zł (20%) Okres spłaty: 30 lat

Podobne działki na sprzedaż

2
Działka budowlana Kobylnica, ul. Rzeczna

336 000

2100

Sprzedam atrakcyjną działkę budowlaną w Kobylnicy przy ul. Rzecznej, idealną pod budowę domu jednorodzinnego. • Działka o powierzchni 2100 m2, położona w cichej i spokojnej okolicy. • Działka z dostępem do mediów (prąd, woda, kanalizacja), które znajdują się w pasie drogowym. • Działka jest idealna...

Zobacz ogłoszenie
7
Działka budowlana Kobylnica

300 000

1360

Na sprzedaż oferuję piękną działkę budowlaną o powierzchni 1360 m², położoną w spokojnej i zielonej okolicy w gminie Kobylnica. • Powierzchnia: 1360 m² • Numer działki: 814/3 • Przeznaczenie: działka budowlana • Media: w pobliżu dostęp do prądu, wody i kanalizacji • Dojazd: droga gminna utwardzona ...

Zobacz ogłoszenie
6
Działka budowlana Łosino, ul. Bukowa

230 000

1000

Na sprzedaż działka położnowa w miejscowości Łosino przeznaczona pod budownictwo mieszkaniowe jednorodzinne. Znajduje się na ulicy Bukowej 4, położona w zacisznym miejscu ponad 200m od głównej drogi prowadzącej do Słupska. Powierzchnia: 1000m (0.10ha) Stan: Działka posiada pełne uzbrojenie. W se...

Zobacz ogłoszenie
2
Działka budowlana Reblino

175 000

1000

Działki, które zyskują na wartości – Reblino przy S6! 10 minut od Słupska | cisza i przestrzeń | szybki wyjazd na Trójmiasto Na sprzedaż działki budowlane od 10 do 47 ar, położone kilkaset metrów od trasy S6, bezpośrednio przy drodze gminnej. To miejsce, gdzie komfort życia spotyka się z dobrą inw...

Zobacz ogłoszenie
3
Działka budowlana Kwakowo

245 310

3774

SPRZEDAM DZIAŁKI BUDOWLANE NR 130/50 O POW. 4189 m2 I 130/51 O POW. 3774 m2 W MIEJSCOWOŚCI KWAKOWO, GM. KOBYLNICA, POWIAT SŁUPSKI, WOJ. POMORSKIE. Na sprzedaż atrakcyjne działki budowlane - Kwakowo, gm. Kobylnica, powiat słupski. Oferuję na sprzedaż dwie działki położone w miejscowości Kwakowo, w ...

Zobacz ogłoszenie
3
Działka budowlana Kobylnica, ul. Migdałowa

230 000

1100

Sprzedam działkę w Kobylnicy przy ul. Migdałowej, powierzchnia 1100 m/kw

Zobacz ogłoszenie