Ogłoszenie usunięte

Sosnowiec Zagórze
ul. Romana Dmowskiego
działka budowlana na sprzedaż Bez pośrednika

Sosnowiec Zagórze · 360 000 zł

Ogłoszenie właściciela - bez pośredników

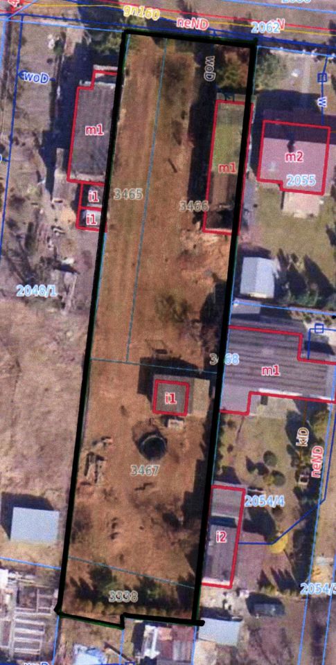
Działka budowlana Sosnowiec Zagórze, ul. Romana Dmowskiego. Zdjęcie 1
Działka budowlana Sosnowiec Zagórze, ul. Romana Dmowskiego. Zdjęcie 1

Bez pośrednika. Oszczędzasz 10 800 zł na prowizji pośrednika!

Sprzedam działkę budowlaną w bardzo ładnym i cichym miejscu. W centrum dzielnicy Sosnowca-Zagórze, a jednak z dala od zgiełku miasta. Działka znajduje się przy lesie Zagórskim, ul. Dmowskiego. Wymiary działki to 17m x 83m, co daje nam powierzchnię 1450 m2. Na działce woda i prąd, w drodze przed działką gazociąg.
Na działce znajduje się stary dom, usytuowany w granicy. Trzy pomieszczenia do gruntownego wyremontowania, dwa pomieszczenia do wyburzenia. Na środku działki dodatkowo wybudowany drewniany domek z jednym pomieszczeniem, oraz zapleczem do przechowywania. Działka w całości ogrodzona. Idealne miejsce pod budowę domu jednorodzinnego, jak i możliwość dla dewelopera pod zabudowę bliźniaczą.
Własność działki uregulowana, posiada księgi wieczyste.
Zapraszam do kontaktu i oglądania.

  • ul. Romana Dmowskiego, Sosnowiec Zagórze
  • Na sprzedaż działka budowlana o powierzchni 1450 m².
  • Wymiary działki: 17m x 83m