Działka na sprzedaż bez pośredników
ul. Spacerowa Borcz Borcz-Leśniczówka

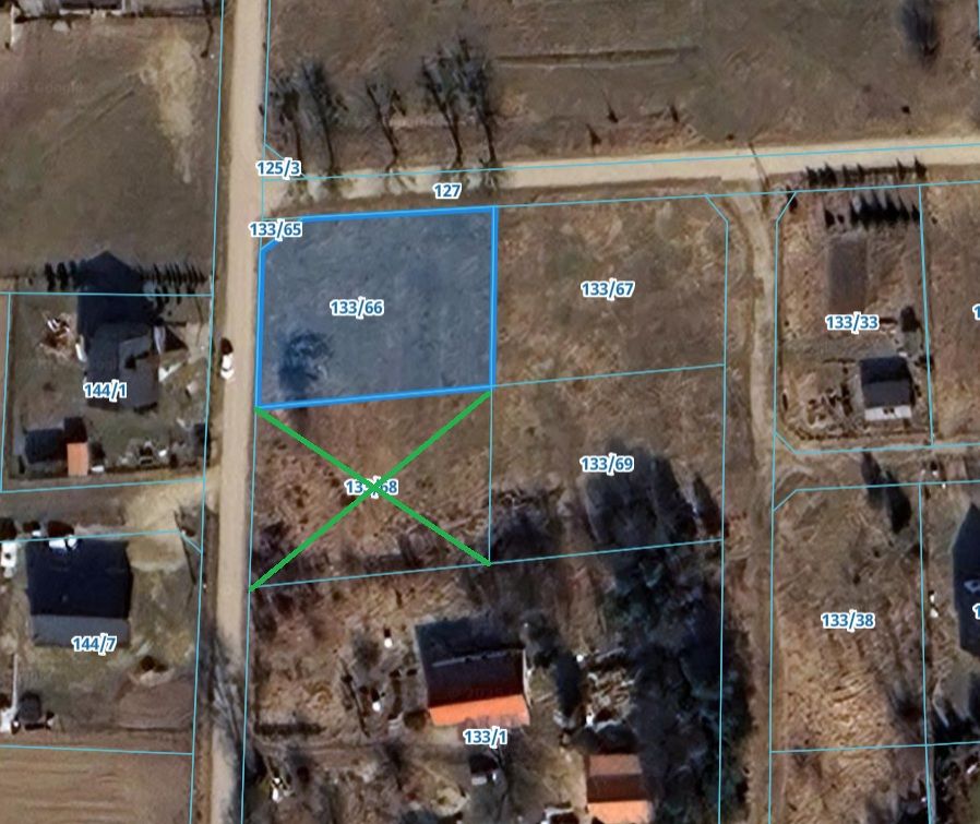
Działka budowlana Borcz Borcz-Leśniczówka, ul. Spacerowa. Zdjęcie 1

Działka na sprzedaż bez pośredników Borcz Borcz-Leśniczówka ul. Spacerowa

165 000
150 zł/m²
1 100
Borcz Borcz-Leśniczówka, Spacerowa - lokalizacja przybliżona
Bezpośrednio od właściciela

Jeśli nie potrzebujesz pośrednika, zaoszczędzisz około 5 000 zł. Potrzebujesz wsparcia? Skorzystaj z pomocy agenta.

Sprzedam trzy działki budowlane o nr.133/66, 133/67(sprzedana) i 133/69 (sprzedana) w miejscowości Borcz o, plan zagospodarowania , woda, energia, kanalizacja. Każda z działek o powierzchni około 1100 m2. Cena za działkę 188000,-Teren płaski doskonała komunikacja komunikacja do trójmiasta, nową trasą niecałe 20 min do Gdyni. Cisza, spokój, bardzo blisko tereny leśne, trasy rowerowe. Dodatkowe informacje tel.

  • ul. Spacerowa, Borcz Borcz-Leśniczówka, gmina Somonino, powiat kartuski  
  • Na sprzedaż działka budowlana o powierzchni 1 100 m²  
  • Numer ewidencyjny działki 133/66
  • Wymiary Długość: 42 m, szerokość: 38 m, wymiary działki: 38x28
  • Dojazd asfalt
  • Media woda, kanalizacja, prąd
  • Cena do negocjacji  
  • Oferta bezpośrednio od właściciela dodana ponad miesiąc temu i zaktualizowana przedwczoraj
Ta nieruchomość może być Twoja od.. sprawdź
33000 zł (20%) Okres spłaty: 30 lat

Podobne działki na sprzedaż

4
Działka budowlana Starkowa Huta

150 000

1001

Sprzedam bardzo ładnie położoną działkę budowlaną w miejscowości Starkowa Huta, gm. Somonino, w samym sercu malowniczych Kaszub. Działka z jednej strony graniczy z lasem. Miejsce jest wyjątkowo spokojne. Na działkę wystawione są aktualne warunki zabudowy. Prąd w drodze przy działce, w trakcie realiz...

Zobacz ogłoszenie
6
Działka budowlana Borcz, ul. Spacerowa

159 000

1000

Sprzedam bardzo ładną, słoneczną działkę budowlano - usługową nr. 137/10 w miejscowości Borcz w powiecie kartuskim, w gminie Somonino. Działka prosta, płaska, sucha, częściowo ogrodzona siatką w fajnym kształcie, na końcu wewnętrznej drogi dojazdowej. Wydano warunki zabudowy na dom całoroczny z gara...

Zobacz ogłoszenie
4
Działka budowlana Piotrowo

152 000

1602

Sprzedam działkę budowlaną o powierzchni 1602 m2 w Piotrowie, gm. Somonino, z bezpośrednim wjazdem drogi asfaltowej. Jest położona 2 km od Szymbarka (kolej metropolitalna) i drogi nr 20 do Kościerzyny. Działka o symbolu "MN" pozwala na zabudowę mieszkaniową jednorodzinną z możliwością lokalizacji ...

Zobacz ogłoszenie
11
Działka budowlana Połęczyno, ul. Żołnierzy Niezłomnych

134 400

1280

Działki budowano rekreacyjne, letniskowe do tafli jeziora Połęczyńskiego 300m, Przy drodze asfaltowej, uzbrojenie przy drodze. Przy jeziorze jest plaża, kąpielisko i park rekreacyjno -wypoczynkowy z dwoma pomostami, altaną, stołami i oświetlonymi schodami prowadzącymi do jeziora. Okolice Wzgórz Szym...

Zobacz ogłoszenie
5
Działka budowlana Egiertowo

165 000

1033

Witam. Na sprzedaż piękna działka położona w miejscowości Egiertowo, nr 10/59. Powierzchnia działki to 1033 m2. Ziemia usytuowana w spokojnej okolicy, nad jeziorem, w pobliżu lasu, ale zarazem z pełnym dostępem do infrastruktury miejskiej. W pobliżu znajdują się sklepy oraz szkoła. W drodze znajd...

Zobacz ogłoszenie
9
Działka budowlana Połęczyno

150 000

1132

Sprzedam działkę w Połęczynie (gmina Somonino, powiat kartuski) o powierzchni 1132 m² plus udział w drodze za 160 000 zł, z wydanymi warunkami zabudowy. Działka wstępnie wyrównana, z doprowadzoną wodą na działkę, a prąd znajduje się wzdłuż granicy działki. Dojazd utwardzoną drogą gruntową. Spokojn...

Zobacz ogłoszenie